Line Post Insulator 1
Line Post Insulator used on distribution line and transmission line upto 132KV. It is mounted rigidly on supporting structure by means of a steed or bolts. It is non- puncturable design.
To the type of connecting with the conductor, Line Post Insulator can be tie top design or clamp top design. To the mounting direction, it can be horizontal or vertical.The cantilever strength can be 5KN, 10KN,12.5KN, 16KN.
Applicable Standard: ANSI C29.7, IEC383, BS137
Color: Brown, Grey White
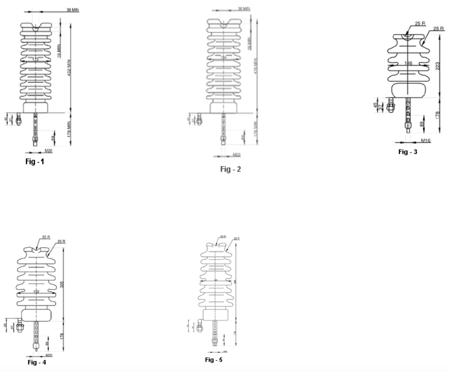
Main dimensions and standard particulars
| ANSI class | 57-1S | 57-2S | ze="4">57-3S | 57-4S | 57-5S | |
| 57-1L | ze="4">57-2L | 57-3L | 57-4L | 57-5L | ||
| Fig No. | 3 | 4 | 5 | 1 | 2 | |
| Dimensions of the pin mm | M16 | M20(M16) | M20 | M20 | M20 | |
| Creepage distance mm | 356 | 559 | 737 | 1015 | 1145 | |
| Dry arcing distance mm | 165 | 241 | 311 | 368 | 438 | |
| Cantilever strength KN | 12.5 | 12.5 | 12.5 | 12.5 | 12.5 | |
| Low frequency flashover voltage | Dry flashover kV | 80 | 110 | 125 | 150 | 175 |
| Wet flashover kV | 60 | 85 | 100 | 125 | 150 | |
| Optical Impuse flashover voltage | Positive kV | 130 | 180 | 210 | 255 | 290 |
| Negative kV | 155 | 205 | 260 | 340 | 380 | |
| Radio influence voltage data | Test voltage to ground kV | 15 | 22 | 30 | 44 | 44 |
| At 100kHZ Max. RIV uV | 100 | 100 | 200 | 200 | 200 | |
| Weight kg | 5 | 9.8 | 12 | 16 | 18 | |